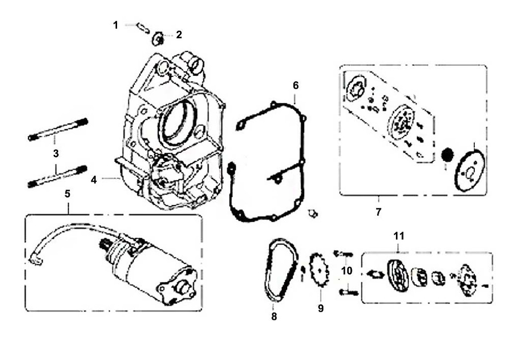
06 Center Crank Gasket

$2.00
Current stock: 0
Description

Description

11192-GY6A-9000

 
Additional Info

Additional Info

SKU:
11192-GY6A-9000-RS150
Weight:
1.00 LBS
Shipping:
Calculated at Checkout